关于招聘警务辅助人员公告
根据上级工作要求,承德市公安局双滦分局面向社会公开招聘警务辅助人员20名。现将有关事项公告如下:
一、招聘岗位、数量及工作职责
警务辅助人员20名,女性5名,男性15名。
二、招聘原则
按照公开、平等、竞争、择优的原则,面向社会公开进行。
三、基本条件及资格要求
(一)报名参加招聘的人员应具备下列条件:
1.拥护《中华人民共和国宪法》,遵守国家法律、法规,品行端正,有较强的组织纪律观念和认真负责的工作态度。
2.年龄在18至35周岁的男性和女性,(1989年5月28日-2006年5月28日)年龄计算时间以招聘简章发布时间为准;
3.学历:报考人员需具有本科以上学历;优秀退役军人报考学历可放宽至大专以上,需提供区退役军人事务局审核意见(在部队受处分人员不得报考);取得国外学历学位的人员,除报名资格条件中要求的材料外,还需提供教育部留学回国人员学历认证和所修课程目录。
4.视力:矫正视力不低于5.0,无色盲;
5.听力:单侧耳语听力不低于5米;
6.无纹身、无口吃,无肢体功能障碍,无嗅觉迟钝,无影响面容且难以治愈的皮肤病(如白癜风、银屑病、血管瘤、斑痣等);
7.身体健康、体貌端正。
8.同等条件下,优先招聘退役士官士兵,司法、警校毕业生,有公安机关从事警务辅助人员工作经历的人员。
9.承德市户籍(含所辖县、市、区)。
(二)有下列情形之一的人员不予招聘:
1.曾因违法行为,被给予行政拘留、强制戒毒等限制人身自由的治安行政处罚的;
2.曾受过刑事处罚或涉嫌违法犯罪尚未查清的;曾被开除党、团籍的;
3.因违纪违规被开除、辞退、解聘的;家庭成员或近亲属被判处刑罚,本人或家庭成员及近亲属参加非法组织、邪教组织或从事其他危害国家安全活动的;
4.普通高校在读非应届毕业生、尚未解除纪律处分或者正在接受纪律审查的人员、以及国家和省另有规定不得应聘到招聘岗位的人员不得应聘;
5.被依法列为失信联合惩戒对象的。

注:如遇时间调整将在承德市双滦区昭阳劳务服务有限公司公众号和官方网站(http://www.bjzyrz.cn/)及时公告。
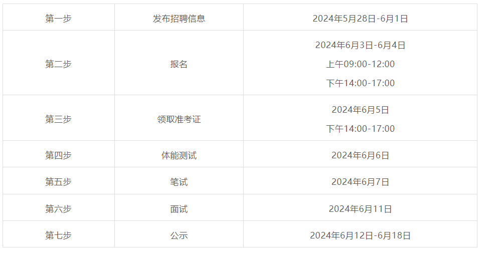
(一)发布招聘简章
2024年5月28日至2024年6月1日在承德市双滦区昭阳劳务服务有限公司公众号和官方网站(http://www.bjzyrz.cn/)发布招聘简章。
(二)报名及资格审查
报名时间:2024年6月3日-2024年6月4日,每天的上午9:00-12:00,下午14:00-17:00,逾期不再受理。
报名方式:报名采取现场报名,报考者要对本人提交的所有信息的真实性负责。
报名地点:双滦区御水花园底商104栋111底商昭阳劳务公司
报名要求:报考人员应出示本人毕业证、《教育部学历证书电子注册备案表》(学信网注册后打印)一份、身份证、户口本、退伍证、无犯罪证明、征信证明、近期一寸彩色同底免冠照片3张等相关证件材料,原件和复印件同时提供,报名费每人200元(缴费成功后,考生因个人原因未参加考试不予退费)。在规定时间内未完成相关操作的,视为自动放弃。同时,报名和考试期间务必保管好个人的证件,因个人原因造成丢失、被他人盗用和信息被恶意篡改而影响报名和考试的,责任自负。
(三)考试
本次考试分为体能测试、笔试、面试,参加考试时必须携带准考证和二代有效身份证,缺少证件的考生不得参加考试。
1.体能测试:报名成功后进入体能测试,体能测试按照纵跳摸高、10×4折返跑、1000米跑(女性测试800米跑)顺序进行,成绩参照人民警察体能测试标准执行,分合格和不合格两种,三项测试均为合格者方可进入笔试。
2.笔试:笔试采取闭卷考试的方法,考试内容为公共基础知识,满分100分。参加考试时,考生必须同时携带准考证和二代有效身份证。考试开始15分钟后,迟到的考生不得进入考场。考试期间考生不得提前交卷、退场。
3.面试:笔试合格人员,按照笔试成绩1:3比例进入面试,如达不到此比例,则合格人员全部进入面试。面试合格的人员统一进行政审,政审不合格的,考试成绩作废。具体地点、时间、要求以《面试通知单》为准;
4.综合成绩:综合成绩=笔试成绩×40%+面试成绩×60%。
(四)递补
如成绩合格人数不满20人(女:5人,男:15人),则启动递补程序。递补按照综合成绩排名顺次按1:1比例进行。同等条件下,优先招聘退役士官士兵,司法、警校毕业生,有公安机关从事警务辅助人员工作经历的。
(五)考察、公示
将体检合格的人员确定为考察对象,根据录用人员的岗位能力要求,采取多种形式考察其思想政治表现、道德品质、业务能力、工作实绩等情况。对考察出现缺额的,启动递补程序进行递补。(考试综合成绩相同的,按照面试成绩高低排序,面试成绩相同的,优先招聘退役士官士兵,司法、警校毕业生,有公安机关从事警务辅助人员工作经历的)。对公示无异议人员,确定为拟聘用人员。聘用人员应在规定的时间内报到,未按时报到,又无正当理由逾期不上班者,视为自动放弃。
五、工资待遇及聘用
聘用人员缴纳“五险”,每月工资2600元(含“五险”个人缴存部分)。聘用人员试用期满后经考核合格者继续履行合同;考核不合格者予以辞退。聘用期间,如遇政策性清退,则按照上级有关规定执行。
六、其他事项
未尽事宜由本次招聘领导小组研究决定。
咨询电话:0314-4302000、15128640282
相关信息查询:http://www.bjzyrz.cn/
在招聘过程中,本公告涉及的内容、时间等如有变更,请考生随时关注昭阳劳务公众号和官方网站所发布的相关信息。
凡考生未在规定时间内按要求参加考试、体检、考察(政审)、办理聘用手续等情况的,均视为自动放弃招聘资格。资格审核贯穿招聘工作全过程,由公安机关全程参与,在任何环节,发现考生不符合招聘条件的,对伪造、假冒各种证件,弄虚作假的,一经查实,取消其应聘资格,问题严重的要追究责任。
请考生在招录期间保持手机畅通,因通讯不畅影响 报名、考试、体检、或考察的,后果自负。
特别提示:本次考试不指定考试用书,不委托任何单位举办考前培训班。请广大考生提高警惕,谨防上当受骗。
承德市双滦区昭阳劳务服务有限公司
2024年5月28日





